0

В корзине пусто

Перейдите в каталог, чтобы выбрать товары или найдите нужное в поиске
Перейти в каталог

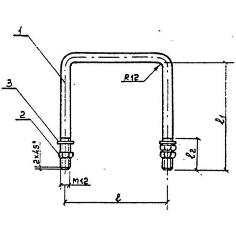
Хомут Х-40

Артикул: khomut-х40
Хомут Х-40 – это надежное решение для крепления кронштейнов
₽195

Хомут Х-40, выполненный из стали, предназначен для фиксации кронштейнов на железобетонных опорах ВЛ 0,4, 6-20 кВ. Данное изделие является ключевым элементом при монтаже разъединителей и металлоизделий, обеспечивает надежное соединение разнотипных металлоконструкций на линиях электропередач.

Крепление хомута к опоре осуществляется с помощью комплектных гаек.